编辑:jiayuan 2016-12-16 15:50:12 来源于:新浪科技
作为2016年的新兴产业之一,VR这项技术已在多个行业繁衍生息,游戏当然也不例外!索尼推出了PS VR,PC方面HTC VIVE和Oculus Rift也拥有相当规模的用户,任天堂又作何打算呢?

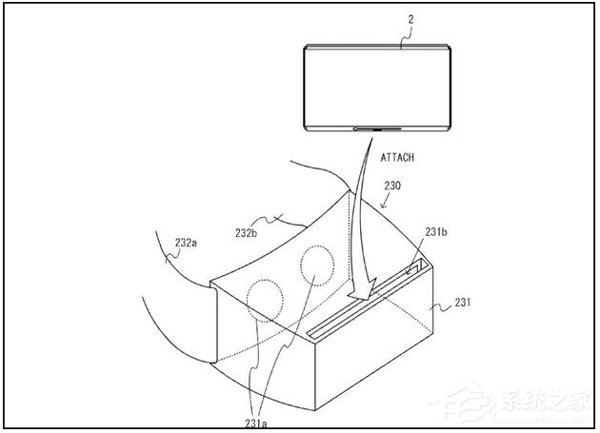
任天堂提交的关于VR的专利
日前NeoGam论坛的会员披露了一批任天堂为Switch游戏机申请的新专利,其中一项表明Swtich可能支持虚拟现实功能。
根据该专利,任天堂将把Switch变成一台大号Daydream View或Gear VR——用户可以直接将其固定到眼罩上,并使用该游戏机的手柄进行控制。
但由于这只是一项专利申请文件,所以并不保证任天堂一定会在明年3月发布Switch时提供虚拟现实功能。任天堂可能只是通过申请这样的专利避免对手部署类似的概念。
但尽管如此,这项功能仍然非常符合逻辑,而且要在Switch上增加基础的虚拟现实体验也并不困难。外界目前唯一担心的是这款设备的画质和处理能力:如果Switch的分辨率不超过1080p,CPU速度也不够快,就很难提供令人满意的虚拟现实体验。
虽然任天堂官方对于VR一直没有明确表态,但它真的会放任老对手索尼在这一领域遥遥领先吗?我们将继续关注!
发表评论
共0条
评论就这些咯,让大家也知道你的独特见解
立即评论以上留言仅代表用户个人观点,不代表系统之家立场