编辑:jiayuan 2016-12-09 10:31:56 来源于:凤凰科技
专利是什么?专利既是一家科技公司最大的财富,也是技术方向的风向标。日前美国专利局就公布了苹果刚刚获得的专利技术,据悉该专利与柔性的可折叠iPhone相关,并且还涉及环形屏幕。

专利图

专利图
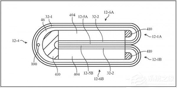
专利文件显示,这是一种配备玻璃、蓝宝石又或者是其它透明材质面板的移动电子设备,这种设备表面上的面板具有可弯曲甚至是可折叠的能力,苹果将这一专利命名为“电子设备的屏幕和触控传感器框架”。从描述文件上来看,这样的设备似乎与Galaxy Edge 系列手机类似。

专利图
近年来关于柔性可折叠iPhone的传闻不断涌现,苹果也被曝光了无数的相关专利!但柔性可折叠的iPhone目前依旧如同海底之月,苹果究竟何时才会使用这些专利呢?未来的柔性可折叠iPhone又会是什么样的呢?
发表评论
共0条
评论就这些咯,让大家也知道你的独特见解
立即评论以上留言仅代表用户个人观点,不代表系统之家立场