编辑:chenbing 2016-09-30 16:03:14 来源于:互联网
据悉,近段时间以来,苹果的多款新的专利获批。其中,最具特色的是眼球追踪的相关专利。所谓的眼球追踪技术就是,用户可以通过双眼,“隔空”操控桌面计算机或电视。该项专利是在人机接口具有新的突破。
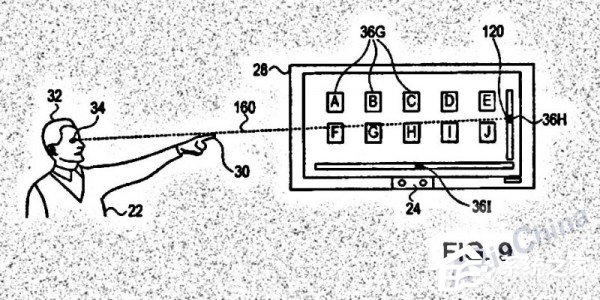
据报道,美国专利商标局近期批准苹果新专利总计达48项,内容涵盖人机界面等相关领域,尤其是多用户交互界面。其中一个编号为9454225的专利特别引人瞩目,该专利名为“凝视的显示操作”,此专利通过接收用户的眼部影像,确定用户凝视的方向,进而根据凝视的方向,找寻到在计算机屏幕上的相应区域,并针对该区域内的内容进行操作。

外界推测,苹果将把眼球追踪新专利应用于PC,甚至是苹果未来推出的电视上,此技术也有望成为苹果新产品吸引买家的新卖点,进一步刺激销售量,苹果iMac桌面计算机组装厂广达、鸿海等有望受惠。
苹果此专利在2013年第3季便提交相关申请文件,但直到今年9月才批准,专利的署名是苹果先前所收购的以色列PrimeSense公司工程师。据悉,苹果今年5月已申请类似的人机接口新技术,当时获批的23项专利,主要集中在手指操控方面。
苹果的专利实在是太多了。那么,此次,苹果的眼球追踪相关专利是否能够真正的运用于现实生活当中呢?这是个未知数。不过,据相关人士透露,该技术专利将与苹果电视一起结合发展。
发表评论
共0条
评论就这些咯,让大家也知道你的独特见解
立即评论以上留言仅代表用户个人观点,不代表系统之家立场